SD23M101

工作电压

高压模式6.5~40V
低压模式4.5~5.5V

高压模式6.5~40V
低压模式4.5~5.5V

工作电流

2.5mA

2.5mA

ROM

32k Bytes MTP

32k Bytes MTP

SRAM

2k Bytes

2k Bytes

封装

QFN32

QFN32
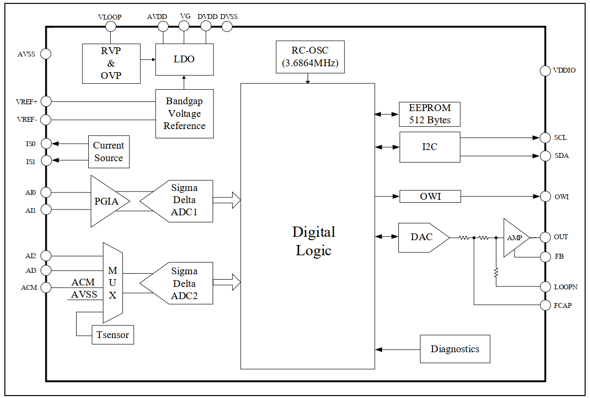
芯片描述

   SD23M101高度集成,用于阻式或电压型传感器,如扩散硅、陶瓷、单晶硅等压力传感器信号调理及变送输出芯片。片内集成高压电源模块,24位主信号测量ADC,24位温度测量ADC,仪表放大器,恒流源、恒压源激励,支持OWI等数字接口,支持4-20mA、0-5V、0-10V变送输出。高度集成,使用很少的外围器件,即可实现方案与调试工作。内置高压电源模块,允许最高40V的电压输入芯片,0-10V输出模式电路更简单。内置多种传感器校准算法,如3P3T、5P5T、7P7T,校准参数保存在芯片内部的EEPROM中。内置温补算法,使得方案的整体温漂更小。


芯片特点
  • 内置24bits ADC1,包含1~256倍增益的低噪声PGA,外部单差分输入通道

  • 内置24bits ADC 2,支持1、2、4、8和16倍增益,外部单差分输入通道或两单端 输入通道,可切换至内部温度传感器输入通道

  • 内置高精度16bits DAC支持4~20mA、0-5V、0-10V输出

  • 内置一路低温漂电压激励源,激励电压可选为2.5V和4V

  • 内置两路电流激励源,激励电流100μA、250μA、500μA和750μA可选

  • 内置高线性度的温度传感器

  • 内置低温漂基准,温漂典型值为5ppm℃,最大值为10ppm/℃

  • 多种ODR设置,可对50/60Hz的干扰及其谐波同时产生抑制

  • 内置压力传感器校准算法,3P3T、5P5T、7P7T

  • OWI通信,可借助4-20mA环路通信

  • 工作电压范围:内置高压电源管理模块,支持6.5~40V宽电压供电

  • 工作温度范围:-40~150℃

芯片框图
应用领域

流量计

温度变送器

产品搜索

样片申请
及购买




请填写真实有效的邮箱地址!