SD8303X

Operating Voltage

2.4~3.6V

2.4~3.6V

Operating Current

850μA

850μA

ADC ENOB

18.3bits@8sps
Gain = 100

18.3bits@8sps
Gain = 100

Peripherals

--

--

Package

SSOP20

SSOP20
IC Introduction

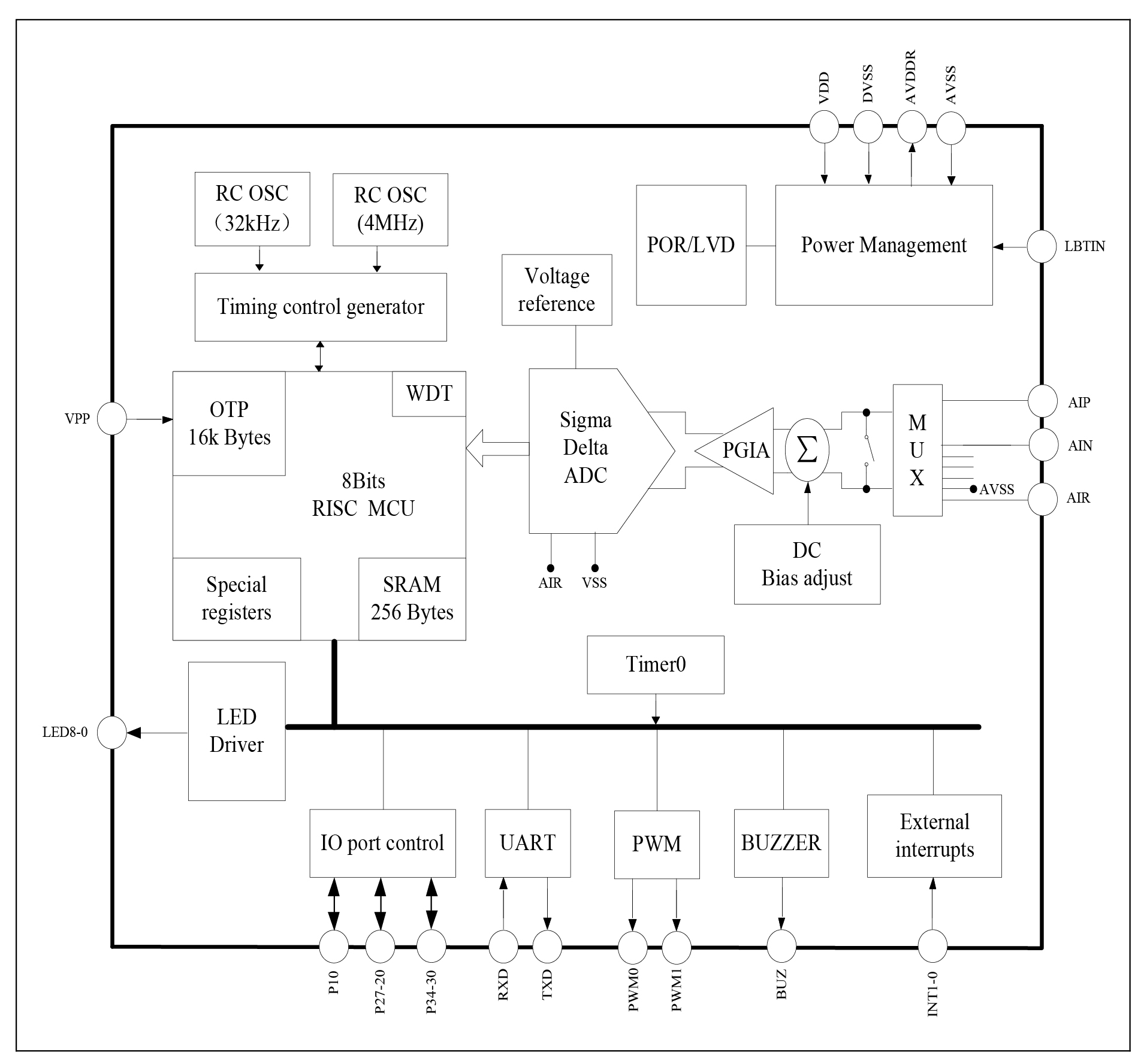
        The SD8303X is a CMOS SoC with built-in 20 bits ADC and 16k Bytes OTP memory. Very few external components are needed to implement body weight scale or kitchen scale with LED displays. 

        The IC was designed with ultra low power technology. Operating at 3V supply and 2MHz clock rate that originates from 4MHz internal RC oscillator, the total typical operating current is 850μA (external transducer driving and LED currents not included).
        Three working modes are provided so users can select the optimum choice between speed and power. They are normal mode, standby mode, and sleep mode.

IC Features
  • High precision ADC, 17.4bits ENOB at 8sps and 200x Gain, 1 differential or 3 single-ended inputs, with offset calibration capability

  • Low noise, high input impedance preamplifier with selectable gain: 1, 12.5, 50, 100, or 200

  • 8 bits RISC ultra low power MCU, 49 instructions and 6 stack levels. The MCU current consumption is 600μA typically at 3V and 2MHz operating clock rate, 2μA at standby and 32kHz clock, and 1μA at sleep

  • 16k Bytes OTP, 256 Bytes SRAM

  • Built-in OTP with low programming voltage at 2.4~3.6V, can replace external EEPROM

  • Internal RC oscillator. No external clock source needed

  • 8 bits interrupt timer

  • Built-in temperature sensor, supports single point calibration

  • 9 LED ports that can drive up to 72 LEDs, 72mA sink current, source current selectable at 4.5/6/7.5/9/10.5/12mA, LED duty cycle selectable

  • Selectable voltage source for external transducer excitation: 2.4V/2.6V/2.9V/3.3V

  • Flexible battery voltage detection: 2.0~3.3V

  • Schmitt trigger input, pull up resistor selectable

  • Watch Dog Timer

  • Low voltage detection and power on reset circuit

  • Operating voltage range: 2.4~3.6V

  • Operating temperature range: -40~85˚C

IC Block Diagram
Application area

Portable Scale

Tire Pressure Scale

Related Products Recommendation

Product Series

Sample Requests
and Purchase

Product
Directory

Please fill in a real and valid email address!