SD4101A

Operating Voltage

2.4~3.6V

2.4~3.6V

Operating Current

500μA

500μA

OTP

4k Bytes

4k Bytes

SRAM

256 Bytes

256 Bytes

ADC ENOB

20.6bits@250sps
Gain = 1

20.6bits@250sps
Gain = 1
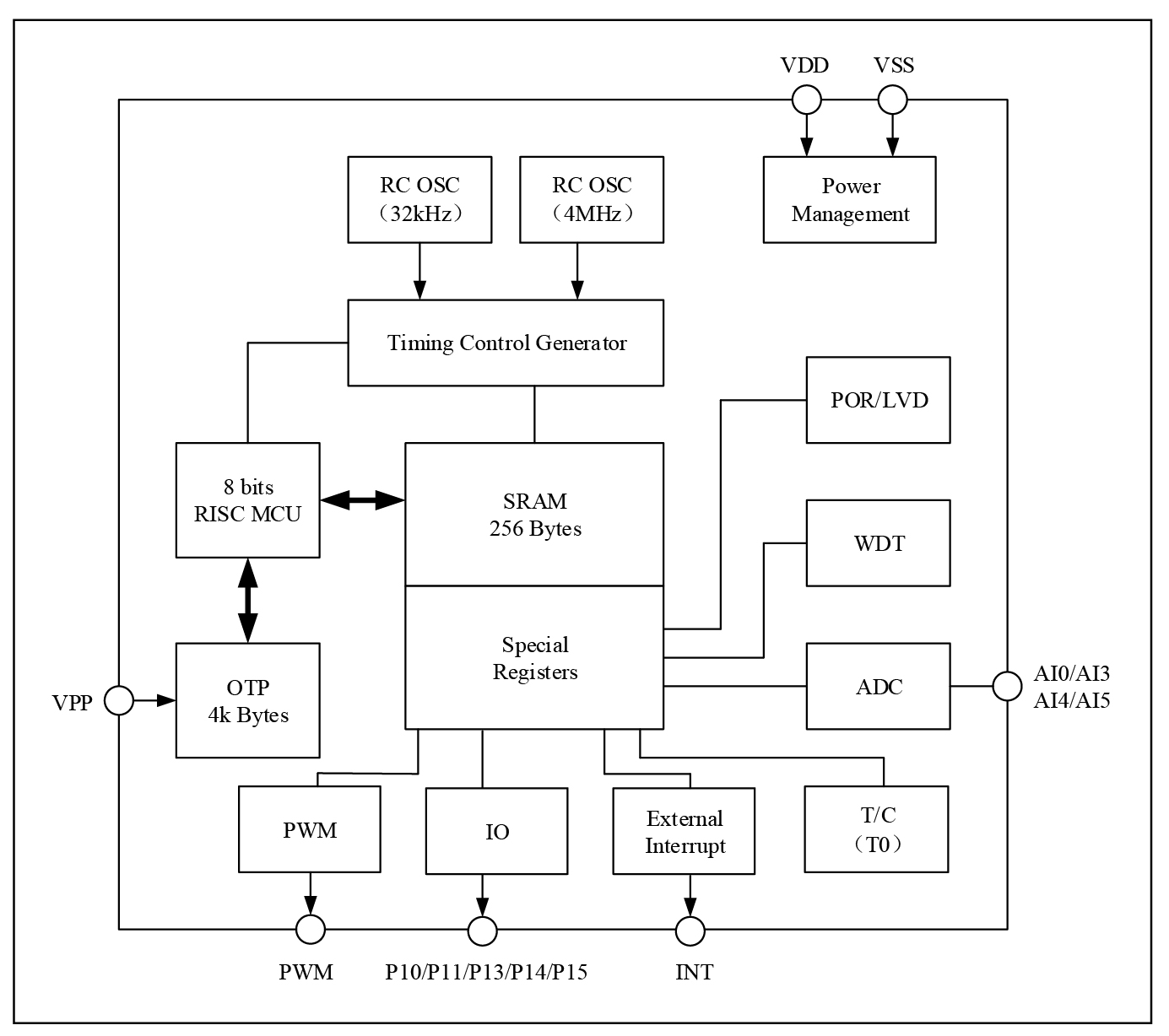
IC Introduction

        The IC is a SoC product with 24 bits high-precision ADC and 4k Bytes OTP program memory. The IC was designed with ultra low power technology. Operating at 3V supply and 2MHz clock rate that originates from 4MHz internal RC oscillator, the total typical operating current is only 500uA. Such low current consumption is very suitable for battery powered signal measurement applications.
        Three working modes are provided so users can select the optimum choice between speed and power. They are normal mode, standby mode, and sleep mode.

IC Features
  • High precision ADC, ENOB=20.6bits@250sps, 2 differential or 4 single-ended inputs (to VSS)

  • 8-bit RISC low power MCU, 49 instructions and 6 stack levels. The MCU current consumption is 300μA typically at 3V and 2MHz operating clock rate. Standby current is 2μA at 32kHz clock, and 1μA at sleep typically

  • 4k Bytes OTP program memory storage, 256 Bytes SRAM data storage

  • Internal 4MHz and 32kHz RC oscillators

  • 1 channel 8bits PWM output

  • WDT enhances reliability

  • Schmitt trigger input, pull up resistor selectable

  • Power failure detection circuit and power-on reset circuit

  • Operating voltage range: 2.4~3.6V

  • Operating temperature range: -40~85℃

IC Block Diagram
Related Products Recommendation

Product Series

Sample Requests
and Purchase

Product
Directory

Please fill in a real and valid email address!